二种显示类型: LED 适合于室内使用, LCD (液晶)适合于室外阳光下使用。
 良好的动态称重性能,不因重物的晃动而影响称重结果。
 集成度高,具备很高的可靠性。
 1,000,000的内部分辨率带来的高精度和高稳定度。
 自动关机功能。
 自动记录最近13个称重记录并不受关电影响。
 LCD 型内置背光(照明系统),即使光线阴暗环境也清晰显示。
 可选配无线遥控器,方便操作。
 
主要技术指标
 称重精度:符合国标III级秤标准。
 电池一次充电连续工作时间: 150小时(LCD型不开背光); 60小时(LED型;LCD型开背光时) 。
 额定过载:120%F.S。
 工作环境温度: -30℃—85℃(LED型); -10℃—70℃(LCD型) (需吊钢水等炽热物体时请与厂家说明)。
 环境湿度:≤90%R.H。
 显示屏规格:LED:5位30mm(1.2")数码管; LCD型:5位33mm(1.3")LCD显示,并有kg或Lb显示

 

备注



电子pg游戏
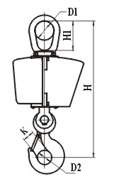
规格型号
最大秤量
分度值
重量(kg)
H
K
D1
D2
OCS-XZ-1
1t
0.5kg
12
462
40
65
50
OCS-XZ-2
2t
1kg
12
462
40
65
50
OCS-XZ-3
3t
1kg
12
462
40
65
50
OCS-XZ-5
5t
2kg
16

548

48
75
60